На каждый день | Конструктивные решения зданий
ЖЕЛЕЗОБЕТОННЫЕ КОНСТРУКЦИИ ОДНОЭТАЖНЫХ ПРОИЗВОДСТВЕННЫХ ЗДАНИЙ
Железобетонные типовые ребристые плиты покрытий зданий (табл. 1) имеют в плане размеры Зх6 и 3x12 м. В качестве доборных применяют также плиты размерами 1,5x6 м. Более экономично и индустриально применение ребристых плит длиной 12 м с высокопрочной предварительно напряженной арматурой.
Типовые железобетонные ребристые плиты размерами в плане 3x6 м для покрытий производственных зданий должны соответствовать требованиям ГОСТ 22701.0-77*.
Таблица 1. Типовые железобетонные плиты для покрытий промышленных зданий (М. - ЦИТП.)
|
Эскиз плиты |
Марка изделия |
Пролет L, м
|
Основные размеры в мм |
Расчетная нагрузка, кН/м2 |
Масса, т |
||||||
|
h |
h1 |
bf |
b’f |
h’f |
b |
hf |
|||||
|
|
2 ПГ6 |
6 |
Серия 1.465.1-20 в 0,1-3 |
2,6...12 |
1,5 |
||||||
|
300 |
300 |
- |
1490 |
30 |
65...80 |
150 |
|||||
|
3 ПГ6 |
6 |
Серия 1.465.1-17 в 0,1-4 |
2,5...12 |
2,9 |
|||||||
|
305 |
305 |
- |
2980 |
35 |
75 |
155 |
|||||
|
1 ПГ12 |
12 |
Серия 1.465.1-15 в 0,1-8 |
1,1...4,9 |
6,2 |
|||||||
|
455 |
455 |
- |
2980 |
30 |
80... 100 |
155 |
|||||
|
|
ПГ18 |
18 |
Серия 1.465.1-13 в 0,1-3 |
2,2...9,4 |
10,8...11,5 |
||||||
|
600 |
900 |
- |
2920 |
30...50 |
100 |
- |
|||||
Существуют и другие типы плит покрытий, например железобетонные плиты двойное «Т», трехслойные со средним слоем из минераловатных или полистирольных утеплителей, а в неотапливаемых зданиях - из волнистых асбестоцементных листов и т. п.
Плиты длиной 6 и 12 м укладываются на стропильные конструкции при соответствующем их шаге.
Железобетонные типовые стропильные балки пролетом 6; 9; 12 и 18 м (табл. 2) применяют при шаге 6 м. Балки постоянной высоты с параллельными полками используются в зданиях с плоской или односкатной кровлей. Технические условия на балки длиной 6 и 9 м из тяжелого и легкого бетона и длиной 12 м из тяжелого бетона изложены в ГОСТ 20372-86.
Таблица 2. Типовые железобетонные балки для покрытий промышленных зданий (М. - ЦИТП.)
|
Эскиз балки |
Марка изделия |
Пролет L, м |
Основные размеры в мм |
Расчетная нагрузка, кН/м2 |
Масса, т |
||||||
|
h |
h1 |
bf |
b’f |
h’f |
b |
hf |
|||||
|
1 |
2 |
3 |
4 |
5 |
6 |
7 |
8 |
9 |
10 |
11 |
12 |
|
|
БСТ6- |
6 |
Серия 1.462.1-10/93 в 0,1 |
3,5...11,0 |
1,2 |
||||||
|
590 |
590 |
100 |
200 |
100 |
100 |
0 |
|||||
|
БСД9- |
9 |
890 |
890 |
220 |
220 |
100 |
100 |
180 |
3,5...11,0 |
2,8 |
|
|
|
БСП12- |
12 |
Серия 1.462.1-1/88 в 1,2 |
3,5...9,5 |
4,5...5,0 |
||||||
|
890 |
890 |
280 |
280 |
80 |
120 |
150 |
|||||
|
|
1БСД18- |
18 |
Серия 1.462.1-16/88 в 0,1-3 |
3,5...14,5 |
7,3...9,5 |
||||||
|
900 |
1350 |
230...330 |
230...330 |
100 |
80...280 |
60...160 |
|||||
|
|
1БДР12- |
12 |
Серия 1.462.-3/89 в 0,1-3 |
3,0...6,5 |
4,7...5,0 |
||||||
|
890 |
1390 |
- |
- |
200 |
300...360 |
180...240 |
|||||
|
2БДР18- |
18 |
890 |
1640 |
- |
- |
200 |
420 |
300 |
3,1...6,5 |
8,4...12,1 |
|
|
240 |
|||||||||||
|
280 |
|||||||||||
Для однопролетных и многопролетных зданий со скатными покрытиями применяются двускатные балки - двутаврового сечения, решетчатые и др.
Железобетонные типовые стропильные и подстропильные фермы предназначаются для покрытий одно- и многопролетных зданий с пролетами от 6 до 24 м включительно (табл. 3). Треугольные фермы используются для покрытий неотапливаемых зданий пролетами 6; 9; 12 и 18 м при кровле из асбестоцементных волнистых листов.
Таблица 3. Типовые железобетонные фермы
|
Эскиз конструкции |
Обозначение документа |
Марка |
Расчетная нагрузка кН/м2 |
Основные размеры, в мм |
Масса, т |
||||||
|
L |
В |
Н |
h1 |
h2 |
h3 |
b1 |
|||||
|
1 |
2 |
3 |
4 |
5 |
6 |
7 |
8 |
9 |
10 |
11 |
12 |
|
|
серия 1.063.1-4 выпуск 1-7 |
1ФТ6 |
2-4,5 |
5960 |
200 |
1195 |
120 |
140 |
200 |
120 |
1,0 |
|
|
1ФТ9 |
2,5-45 |
8960 |
200 |
1570 |
140 |
160 |
200 |
120 |
1,8 |
|
|
|
1ФТ12 |
2-45 |
11960 |
200 |
1945 |
180 |
220 |
200 |
150 |
2,7 |
|
|
|
1ФТ18 |
2-3 |
17960 |
220 |
2695 |
220 |
260 |
220 |
200 |
5,6 |
|
|
2ФТ18 |
3,5-45 |
17960 |
220 |
2695 |
240 |
280 |
220 |
250 |
6,4 |
||
|
|
серия 1.463.1-16 |
1ФС18 1...5 |
1...7; кран Q=1...5t; две кран-балки Q=3,2t |
17940 |
200 |
2630 |
180 |
180 |
150 |
120 |
4,5 |
|
2ФС18-2...8 |
17940 |
250 |
2640 |
200 |
180 |
150 |
120 |
6,0 |
|||
|
3ФТ18-5...9 |
17940 |
250 |
2725 |
300 |
250 |
150 |
150 |
7,8 |
|||
|
4ФС18-8...13 |
17940 |
300 |
2735 |
320 |
250 |
150 |
150 |
9,0 |
|||
|
|
серия 1.463.1-3/87 вып. 2,3 |
1ФБС18-1,2,3 |
3...4.5; кран Q=1...5t; две кран-балки Q=2t |
17940 |
240 |
3000 |
220 |
200 |
240 |
200 |
6,5 |
|
2ФБС18-3-6 |
З...7; кран Q=1...5t; две кран-балки Q=3,2t |
17940 |
280 |
3000 |
280 |
250 |
240 |
250 |
7,7 |
||
|
3ФБС18-4-8 |
З...5; кран Q=1...5t; две кран-балки Q=3,2t |
17940 |
280 |
3000 |
280 |
250 |
280 |
250 |
9,2 |
||
|
4ФБС18-7...11 |
5...7; кран Q=5т; две кран-балки Q=3,2t |
17940 |
280 |
3000 |
.340 |
300 |
280 |
300 |
10,5 |
||
|
|
серия 1.463.1-3/87 вып. 4,5 |
1ФБС24-1-3 |
3-4,5 |
23940 |
240 |
3300 |
220 |
200 |
240 |
250 |
9,2 |
|
2ФБС24-3-7 |
3..5,5; две кран-балки Q=3,2t |
23940 |
240 |
3300 |
280 |
250 |
240 |
250 |
10,5 |
||
|
3ФБС24-4-10 |
3...7; две кран-балки Q=3,2t |
23940 |
240 |
3300 |
340 |
300 |
240 |
250 |
11,7 |
||
|
4ФБС24-8...13 |
6...7; две кран-балки Q=3,2т |
23940 |
280 |
3300 |
340 |
300 |
240 |
250 |
11,7 |
||
|
5ФБС24-11...16 |
-/- |
-/- |
-/- |
340 |
300 |
260 |
300 |
14,2 |
|||
|
-/- |
-/- |
-/- |
460 |
420 |
280 |
350 |
18,2 |
||||
|
|
серия 1.463.1-19 вып. 1,2 |
1ФПС12-1...4 |
10,2... 17,2 |
11960 |
550 |
2225 |
11 |
||||
|
2ФПС12-1...4 |
-/- |
11860 |
-/- |
-/- |
11,0 |
||||||
Для отапливаемых зданий с железобетонными плитами и рулонной кровлей применяют преимущественно раскосные фермы с верхним поясом ломанного очертания пролетом 18 м и безраскосные арочного очертания пролетами 18 и 24 м. Последние изготовляются из тяжелого и легких бетонов на пористых заполнителях. Основные размеры сечений поясов и стоек должны соответствовать ГОСТ 20213-89.
Для зданий с шагом колонн 12 м применяют типовые подстропильные фермы, которые при скатной кровле имеют очертания и размеры, указанные в табл. 3. При малоуклонной кровле применяют подстропильные фермы треугольного очертания.
Схема опирания стропильных ферм на подстропильные при скатной кровле представлена на рис. 1.
Рисунок 1. Опирание стропильных ферм на подстропильные при скатной кровле: 1 - верхний пояс подстропильной фермы; 2 - средний узел нижнего пояса подстропильной фермы; 3 - стропильные фермы; 4 - плита покрытия; 5 – стойка подстропильной фермы; 6 – колонна
В современном строительстве много зданий возводятся пролетом 18 м. Для покрытий таких зданий могут быть использованы плиты или панели «на пролет» с размерами в плане 3x18 м, позволяющие отказаться от устройства отдельных стропильных конструкций, т.к. их функции выполняют сами плиты или панели, укладываемые в поперечном направлении зданий на подстропильные балки или фермы, располагаемые по колоннам вдоль здания. Возможна другая схема покрытия, при которой плиты или панели укладываются вдоль здания на стропильные балки или фермы, располагаемые с шагом 18 м. В этом случае сетка колонн может быть значительно увеличена (18x18; 18x24; 18x30 м).
В нашей стране нашли наибольшее применение следующие типы железобетонных плит размером 3x18 м.
Плиты типа ПГ-18 (см. табл. 1) представляет собой конструкцию с двумя плоскими скатами, имеют два основных продольных ребра переменной высоты и поперечные ребра, расположенные с шагом 1,3...1,55 м.
Типовые железобетонные колонны для одноэтажных производственных зданий применяют следующих видов:
– прямоугольного сечения для зданий без мостовых кранов высотой до 14,4 м;
– прямоугольного сечения для зданий пролетами до 36 м с мостовыми кранами (табл. 4);
– двухветвевые для зданий с мостовыми кранами грузоподъемностью до 50 т;
– центрифигурные кольцевого сечения для зданий без мостовых кранов с наружным диаметром от 300 до 1000 мм и длиной от 3,6 до 19,2 м по ГОСТ 23444-79.
Таблица 4. Типовые железобетонные колонны для зданий с мостовыми кранами (М.-ЦИТП. - серия 1.424.1-5.1984 г.) Вып. 1/В7-5/В7
|
Эскиз колонны |
Марка изделия |
Отметка верха колонны в м |
Основные размеры, в мм |
Грузоподъемность крана (т) |
Пролет L, м |
Масса, т |
||||||||
|
Н |
Hs |
hs |
hH |
|||||||||||
|
min |
max |
min |
max |
min |
max |
min |
max |
min |
max |
|||||
|
1 |
2 |
3 |
4 |
5 |
6 |
7 |
8 |
9 |
10 |
11 |
12 |
13 |
14 |
15 |
|
|
1К84-4К84 |
8,4 |
9300-9450 |
2900 |
4500 |
380 |
600 |
600 |
700 |
5 |
16 |
18 |
24 |
5,1...6,8 |
|
1К96-6К96 |
9,6 |
10500-10650 |
2900 |
4500 |
380 |
600 |
600 |
700 |
5 |
20 |
18 |
24 |
5,7...7,7 |
|
|
1К108-7К108 |
10,8 |
11850 |
2900 |
4500 |
380 |
600 |
700 |
800 |
5 |
32 |
18 |
24 |
7,2...9,2 |
|
|
1К120-5К120 |
12,0 |
13050 |
2900 |
4500 |
380 |
600 |
700 |
800 |
10 |
32 |
18 |
36 |
10,1 |
|
|
1К132-5К132 |
13,2 |
14250-14400 |
3500 |
4500 |
380 |
600 |
800 |
900 |
10 |
32 |
18 |
36 |
9,9...12,1 |
|
|
1К144-5К144 |
14,4 |
15450-15600 |
3500 |
4500 |
380 |
600 |
800 |
900 |
10 |
32 |
18 |
36 |
10,8...13,2 |
|
|
|
5K84-10K84 |
8,4 |
8650-9450 |
2600 |
4500 |
600 |
600 |
600 |
700 |
5 |
16 |
18 |
24 |
7,0...7,6 |
|
7K96-15K96 |
9,6 |
9950-10650 |
2600 |
4500 |
600 |
600 |
600 |
700 |
5 |
20 |
18 |
24 |
7,6...8,1 |
|
|
8K108-16K108 |
10,8 |
11150-11850 |
2600 |
4500 |
600 |
600 |
700 |
800 |
5 |
32 |
18 |
36 |
9,2...10 |
|
|
6K120-11K120 |
12,0 |
12350-13200 |
3200 |
4500 |
600 |
600 |
800 |
900 |
10 |
32 |
18 |
36 |
10,5...11,6 |
|
|
6K132-9K132 |
13,2 |
13700-14400 |
3200 |
4500 |
600 |
600 |
900 |
900 |
10 |
32 |
18 |
36 |
12,5...12,9 |
|
|
6K144-9K144 |
14,4 |
14900-15600 |
3200 |
4500 |
600 |
600 |
900 |
900 |
10 |
32 |
18 |
36 |
12,7...13,8 |
|
В отечественной и зарубежной практике применяются и другие типы колонн, например двутаврового сечения, кольцевые центрифугированные с консолями для зданий с мостовыми кранами.
Рисунок 2. Сводчатая железобетонная плита типа КЖС
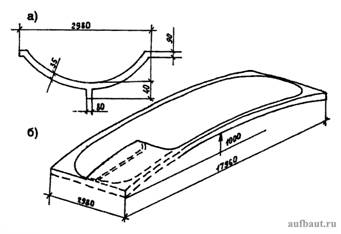
Плиты типа КЖС (рис. 2) имеют форму сводчатой пологой оболочки с двумя продольными ребрами - диафрагмами и гладкой полкой, толщина которой переменна - в середине составляет 30-35 мм, а на концевых участках - 172-174 мм.
Панель-оболочка конструкции НИИСК (рис. 3) имеет форму лотка с горизонтальным продольным ребром (килем) переменной высоты, изменяющейся от 200 мм у опор до 540 мм к середине. В продольном направлении панель очерчена по дуге окружности, а в поперечном - по кривой гиперболы. Основная рабочая арматура размещается в продольном ребре (киле).
Рисунок 3. Предварительно напряженная панель-оболочка конструкции НИИСК
Для покрытий одноэтажных зданий вместо набора плоскостных несущих и ограждающих конструкций могут быть применены сборно-монолитные железобетонные оболочки положительной гауссовой кривизны. В таких конструкциях, совмещающих несущие и ограждающие функции, благодаря благоприятным статическим условиям работы достигается значительное уменьшение материалоемкости. Типовые железобетонные оболочки предназначены для зданий с сетками колонн 18x24; 18x30 и 24x24 м (рис. 4). Оболочки собираются из ребристых плит размером 3x6 м с цилиндрической поверхностью. Каждая оболочка является частью многоволнового покрытия, смежные оболочки опираются на контурные диафрагмы в виде ферм или поясов. На верхней поверхности диафрагм, особенно на крайних участках, предусматривается устройство железобетонных или стальных упоров, а также шпоночных пазов для восприятия сдвигающих усилий от оболочек.
Рисунок 4. Типовые железобетонные оболочки положительной гауссовой кривизны
Общие технические условия для железобетонных колонн одноэтажных производственных зданий изложены в ГОСТ 25628-83.
Для каркасов одноэтажных производственных сельскохозяйственных зданий шириной 18 или 21 м применяют типовые колонны, стропильные балки пролетом 6,0 или 7,5 м и треугольные фермы пролетом 6 м (рис. 5). Широкое применение нашли также однопролетные сельскохозяйственные здания с каркасами из трехшарнирных железобетонных рам, составляемых из двух полурам (рис. 6).
Рисунок 5. Схема железобетонного каркаса одноэтажного сельскохозяйственного производственного здания: 1,2 - колонны крайних и средних рядов; 3 - стропильная балка; 4 - треугольная ферма; 5 - фундамент под колонну
Рисунок 6. Железобетонные полурамы для одноэтажных сельскохозяйственных зданий: а - цельная прямоугольного сечения; б - составная таврового сечения
Железобетонные колонны соединяют с фундаментами, как правило, защемлением в стакане (рис. 7). При отдельно стоящих фундаментах стены опираются на фундаментные балки. Верх фундаментов размещается на 150 мм ниже отметки чистого пола, что исключает возможность опирания фундаментных балок на верхние обрезы фундаментов. Поэтому их опирают на бетонные столбики, а при панельных стенах - с помощью арматурных выпусков - непосредственно на верх подколонников фундаментов. При глубоком заложении фундамента (более 4,2 м) вместо подколонников целесообразно применять удлиненные колонны. В этом случае в нижних частях колонны предусматривают консоли для опирания фундаментных балок. Типовые железобетонные фундаментные балки для каркасных зданий с шагом колонн 6 м имеют длину от 4,3 до 5,95 м, а при шаге колонн 12 м - от 10,7 до 11,95 м. Они имеют трапециевидное сечение высотой 300...450 мм при шаге колонн 6 м и 400...600 - при 12 м.
Панели стен для производственных зданий могут быть плоскими длиной 6 м и ребристыми с предварительно напряженной арматурой длиной 12 м. Панели стен для отапливаемых зданий изготавливают однослойными из ячеистого автоклавного бетона плотностью 700...800 кг/м3 или из легких бетонов на пористых заполнителях (керамзите, аглопорите, вспученном перлите и др.) плотностью 900...1200 кг/м3. В последнем случае панели должны иметь наружные и внутренние фактурные слои из цементно-песчаного раствора толщиной по 20 мм.
Рисунок 7. Соединение колонн с фундаментами стаканного типа: а - прямоугольных, б - двухветвевых
Эффективны трехслойные панели различных видов - с наружными слоями из тяжелого бетона и внутренним из легкого или минераловатных, полистирольных плит с гибкими связями между наружными слоями панелей. Стеновые панели могут быть навесными и самонесущими. Навесные стены выполняются из панелей, длина которых равна шагу колонн с проемами (промежутками по высоте) для ленточного остекления. В самонесущих стенах панели различных типов опираются друг на друга: надоконные панели на простеночные и т. п. При этом образуются оконные проемы шириной 3...4,5 м (при шаге колонн 6 м).
Вернуться к списку
|
Распечатать
|


