Справочник строителя | Вибропогружатели
ВИБРОПОГРУЖАТЕЛИ
Вибропогружатели сообщают погружаемым (или извлекаемым) в грунт элементам (свае, шпунту, трубе) направленные вдоль их оси колебания определенной частоты и амплитуды, благодаря чему резко снижается коэффициент трения между грунтом и поверхностью внедряемого (извлекаемого) элемента. Они применяются для погружения в песчаные и супесчаные водонасыщенные грунты металлического шпунта, двутавровых балок, труб, железобетонных свай и оболочек, а также для извлечения их из грунта. Составными частями вибропогружателя являются электродвигатель, вибровозбудитель и наголовник.
Жесткое соединение вибропогружателя с погружаемым (извлекаемым) элементом обеспечивается сменным наголовником с механическим или гидравлическим захватом.
В качестве вибровозбудителей используются вибраторы направленного действия с четным количеством (4, 6 или 8) горизонтально расположенных параллельных валов с дебалансами, синхронно вращающимися в различных направлениях.
Общая масса дебалансов на каждом валу одинакова. Дебалансные валы приводятся во вращение одним или двумя электродвигателями специального виброударостойкого исполнения через ременную, цепную или зубчатую передачи.
Главным параметром вибропогружателей является установленная мощность электродвигателей. К основным параметрам относятся вынуждающая сила, статический момент дебалансов, амплитуда и частота колебаний. Вынуждающая (центробежная) сила вибровозбудителя, возникающая при вращении дебалансов, достигает максимального значения при их вертикальном расположении и направлена вдоль оси погружаемого элемента. При горизонтальном расположении дебалансов их центробежные силы взаимно уравновешиваются. Величина вынуждающей силы вибропогружателя F, кН, зависит от суммарной массы m дебалансов, расстояния от их центра массы до оси вращении (эксцентриситета) е и угловой скорости дебалансных валов w:
F= mew2.
Амплитуда колебаний а, мм, представляет собой отношение статического момента дебалансов М (М = mе) к массе колеблющейся конструкции mк, т. е. а = М/ mк. Частота колебаний n вибровозбудителя равна частоте вращения дебалансных валов.
Различают низкочастотные (n ? 10 Гц) и высокочастотные (n ? 16,6 Гц) вибропогружатели.
Низкочастотные вибропогружатели используют для погружения в однородные слабые грунты массивных железобетонных оболочек и свай длиной до 12 м. Они характеризуются значительной амплитудой колебаний, сравнительно большими статическими моментами дебалансов, вынуждающей силой и общей массой, малой частотой колебаний.
Одноосный вибропогружатель направленного действия для устройства свайных фундаментов ВП-ОНД 10-26 (ГУП «Зокио», г. Москва) предназначен для погружения железобетонных свай при устройстве свайных фундаментов; погружения и извлечения металлических труб и шпунта; извлечения старых свай и шпунта при проведении реконструкции. Он способен работать в стесненных условиях в пульсирующем или вибрационном режимах работы, также обладает возможностями переключения с режима погружения на режим извлечения, регулировки скорости погружения—извлечения свай. ВП-ОНД 10-26 также отличается пониженным шумом и пониженной передачей вибрации (безопасное расстояние от существующих зданий 10... 15 м).
Выпускаемая ГУП «Зокио» виброустановка ВУСО-160 (рис. 1) снабжена устройствами дистанционного закрепления на свае-оболочке регулирования частоты вибрации и силы воздействия на сваю. ВУСО-16 не требует грузоподъемных средств большой мощности, так как масса виброустановки не превышает 7 т, при этом время закрепления и открепления виброустановки на свае составляет не более 5 мин.
Рис. 1. Виброустановка ВУСО-160: 1 — свайный наголовник; 2 — вибропогружатель; 3— насосная станция
Краткая техническая характеристика низкочастотных вибропогружателей приведена в табл. 1.
Таблица 1. Техническая характеристика вибропогружателей ГУП «Зокио»
            Параметры | 
            
            Индекс машины | 
        |
            ВП-ОНД 10-26 | 
            
            ВУСО-160 | 
        |
| 
             Мощность двигателя, кВт  | 
            
             60...75  | 
            
             ПО  | 
        
| 
             Статический момент, кН · м  | 
            
             102,6  | 
            
             250  | 
        
| 
             Частота вибрации (пульсации), мин-1  | 
            
             200; 300; 400; 480  | 
            
             200; 300; 400; 485  | 
        
| 
             Максимальная возмущающая сила, кН  | 
            
             264  | 
            
             650  | 
        
| 
             Амплитуда холостого хода, см  | 
            
             3,5  | 
            
             4,1  | 
        
| 
             Масса вибропогружателя, кг  | 
            
             5000*  | 
            
             3800, 6000**  | 
        
| 
             Масса погружаемых свай, кг  | 
            
             до 4000  | 
            
             до 20 000  | 
        
* При комплектации свайным налоговником АСН-40.
** С наголовником для погружения трубы диаметром 1420 мм.
Высокочастотные вибропогружатели нового поколения В-402, В-11.44 и В-16.60, выпускаемые ОАО «Охтинский завод строительных машин» (г. С.-Петербург), предназначены для погружения в водонасыщенные и пластичные грунты на глубину до 12...16 м и извлечения из них металлического шпунта (плоского, корытного типа «Ларсен»), труб диаметром 300... 1200 мм, металлических свай (профильного металла), железобетонных свай с поперечным сечением 30 х 30 см, 35 х 35 см и других подобных элементов. Вибропогружатели оснащаются гидравлическими наголовниками двух типов: одинарными для шпунта и спаренными для труб.
Высокочастотные вибропогружатели в шпунтовом исполнении применяются для глубинного уплотнения водонасыщенных песчаных оснований, устройства траншейных фундаментов и тонких противофильтрационных завес. При глубинном уплотнении динамическое возмущение песчаной водонасыщенной среде передается пространственной стержневой конструкций, жестко связанной с вибропогружателем. Длительное объемное динамическое возбуждение в уплотненной толще водонасыщенного песка позволяет достичь во всем объеме высокой плотности песка и повысить несущую способность песчаного основания.
Вибропогружатель В-402 (рис. 2) состоит из четырехвального электромеханического вибровозбудителя направленных колебаний, гидравлического наголовника для соединения вибропогружателя с погружаемыми (извлекаемыми) элементами, подвески с гасителем динамических нагрузок для навешивания вибропогружателя на грузозахватные устройства стреловых самоходных кранов. Привод вибровозбудителя с регулируемым статическим моментом небалансов в диапазоне 300... 1200 кг • см осуществляется от электродвигателя мощностью 55 кВт через механическую трансмиссию.
Вибропогружатели В-1144 и В-16.60 с двухвальным вибровозбудителем направленных колебаний выполнены по единой конструктивной схеме. Двухвальный бестрансмиссионный вибровозбудитель состоит из двух однотипных электродвигателей, установленных в одной плоскости на опорной плите, жестко соединенной с гидравлическим наголовником. На параллельных валах электродвигателей, синхронно вращающихся в различных направлениях, установлены дебалансы с регулируемым статическим моментом. Вибропогружатели работают со стреловыми самоходными кранами грузоподъемностью 8...25 т.
Рис. 2. Вибропогружатель В-402
Техническая характеристика высокочастотных вибропогружателей приведена в табл. 2.
Таблица 2. Техническая характеристика вибропогружателей ОАО «Охтинский завод строительных машин»
            Параметры | 
            
            Модель | 
        ||
            В-402 | 
            
            В-1144 | 
            
            В-16.60 | 
        |
| 
             Максимальная вынуждающая сила, кН  | 
            
             270  | 
            
             260  | 
            
             370  | 
        
| 
             Частота колебаний, Гц  | 
            
             23,8  | 
            
             24,6  | 
            
             24  | 
        
| 
             Мощность электродвигателей, кВТ  | 
            
             55  | 
            
             -  | 
            
             -  | 
        
| 
             Суммарная мощность электродвигателей, кВТ  | 
            
             -  | 
            
             44(2 х 22)  | 
            
             60(2 х 30)  | 
        
| 
             Масса, кг  | 
            
             2975  | 
            
             3630  | 
            
             1600  | 
        
Вибропогружатель производства ОАО «ЯЗКМ» Ярославский завод «Красный маяк» предназначен для погружения и извлечения из грунта металлических труб и стального проката различных профилей (рельс, уголок, швеллер и т. п.).
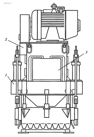
Вибропогружатель (рис. 3) состоит из двух электромеханических однотипных вибраторов 6 с круговыми колебаниями, плиты 5 для крепления вибраторов, траверсы 3 с упругими элементами 2 подвески вибровозбудителя направленных колебаний и скобой 4 для навески вибропогружателя на крюк грузоподъемного устройства, наголовника 7 клинового типа для крепления погружаемых (извлекаемых) элементов 1. Для преобразования круговых колебаний в направленные оба вибратора установлены на одной плоскости с параллельным расположением валов. Вращение роторов электродвигателей вибраторов или их подключение к сети должны быть противоположными, при этом величины установленного статического момента и вынуждающей силы обоих вибраторов суммируются.
Рис. 3. Вибропогружатель ОАО «ЯЗКМ»
Конструкция наголовника легко переналаживается в зависимости от вида (профиля) погружаемого (извлекаемого) элемента и площади его поперечного сечения.
Вибропогружатели конструкции ОАО «ЯЗКМ» имеют несколько исполнений (табл. 3), в частности, могут быть укомплектованы вибраторами с питанием от сети безопасного напряжения до 42 В или иного напряжения с использованием защитно-отключающего устройства.
Таблица 3. Техническая характеристика вибропогружателей ОАО «ЯЗКМ»
            Показатели | 
            
            Исполнения | 
        ||||
            1 | 
            
            2 | 
            
            3 | 
            
            4 | 
        ||
| 
             Номинальная мощность электродвигателей, кВт  | 
            
             0,24  | 
            
             0,74  | 
            
             1,6  | 
            
             2,2  | 
        |
| 
             Максимальная вынуждающая сила (регулируемая), кН  | 
            
             5  | 
            
             12  | 
            
             24  | 
            
             48  | 
        |
| 
             Частота колебаний, мин-1  | 
            
             1500  | 
            
             1500  | 
            
             1500  | 
            
             1500  | 
        |
| 
             Максимальный статический момент дебалансов, Н х см  | 
            
             200  | 
            
             500  | 
            
             1000  | 
            
             2000  | 
        |
					 
					Вернуться к списку
				 | 
				
					Распечатать
					 
				 | 
			


