Справочник строителя | Построение электрических сетей
СХЕМЫ ПИТАНИЯ ПОТРЕБИТЕЛЕЙ В ГРС
На рис. 1-4 приведены фрагменты схем ГРС, соответствующие питанию потребителей различных категорий надежности электроснабжения. Наиболее простой является схема с радиальной линией W1 и магистральной линией W2 с односторонним питанием. Радиальная линия W1 на рис. 1 осуществляет питание ТП1, a W2 — группу потребителей, подключенных к ТП2—ТП4. ТП могут иметь глухое подключение к линии (ТП 1, ТПЗ), через два разъединителя QS1, QS2 (ТП2), через один разъединитель QS3 (ТП4). Применение QS повышает гибкость схем и позволяет оперативно отключать от питающей сети поврежденные трансформаторы и участки линий, а также облегчает отыскание поврежденных элементов сети.
Недостаток схемы с одиночными радиальными или магистральными линиями и односторонним питанием заключается в отсутствии резервирования. При повреждении какого-либо элемента прекращается питание связанных с ним потребителей на время ремонта или замены элемента. По этой причине схема питания потребителей, приведенная на рис. 1, применяется только для приемников III категории.
Рис. 1. Схема питания потребителей для приемников III категории
Рис. 2. Одиночная магистраль с двусторонним питанием для приемников II категории
Одиночная магистраль с двусторонним питанием (рис. 2) используется для питания приемников II категории. Разъединители QS1—QS8 предназначены для обеспечения двух функций:
Деление линии W на 2 части с односторонним питанием. Наиболее целесообразно указанное деление производить в точке естественного токораздела, т. е. там, где переток по участку линии минимален. Пусть, например, на участке W3 переток мощности близок к нулю. Тогда можно работать с постоянно отключенным QS4 или QS5 (в зависимости от направления потока мощности на участке).
Отключение поврежденных элементов от питающей сети. Например, при повреждении участка линии W2 и ее отключении выключателем Q1 можно отключить QS2 и QS3. При отключенном выключателе Q2 можно включить QS4 и QS5. При восстановлении питания (включении Q1 и02)ТП1 будет получать питание через Q1, а ТП2—ТП4 — через Q2. В данной схеме имеется возможность обеспечить резервное питание части приемников по сети низшего напряжения 0,4 кВ при отключении трансформатора любого ТП. Это осуществляется с помощью соединительных пунктов СП1 или СПЗ. В нормальном режиме во всех СП нет соединения концов линий напряжением 0,4 кВ. При отключении, например, трансформатора ТП2 производят соединения на СП 1 или СП2 (вставляют предохранители), и часть приемников ТП2 получит электропитание.
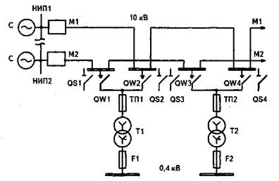
Более высокую надежность электроснабжения обеспечивают схемы с двойными магистралями (двухлучевые схемы). На рис. 3 и 2.9 приведены варианты двухлуче-вых схем: с возможностью осуществления АВР на стороне ВЫ (рис. 3) и с АВР на стороне НН (рис. 4). Питание любого ТП может осуществляться от любой магистрали М1 или М2. АВР на стороне ВН может производиться, если в «вилке» на стороне ВН установлены выключатели нагрузки QW с соответствующими приводами (один — действующий на автоматическое отключение, другой — на автоматическое включение при потере питания ТП). Следует подчеркнуть, что имеется большая опасность включения выключателя нагрузки на сохранившееся КЗ. Выключатель нагрузки рассчитан на трехкратное включение тока КЗ до 20 кА, однако не предназначен для отключения таких токов, поэтому при устойчивом КЗ на секции действие АВР не только не отключит поврежденную секцию, но и приведет к недопустимому снижению напряжения на другой секции шин. Поэтому АВР возможен только при отсутствии КЗ на ТП. АВР применяют для приемников I категории. При наличии только приемников II и III категории вместо выключателей нагрузки QW можно использовать разъединители QS.
Рис. 3. Двухлучевая схема с возможностью осуществления АВР на стороне ВН
Схема, приведенная на рис. 4, также используется для питания приемников I категории. Ее отличительная особенность — применение АВР на стороне НН. На стороне высшего напряжения (10 кВ) используются разъединители QS. Приемники, питающиеся от трансформаторов Т1—Т2 двухтрансформаторной ТП, равномерно распределены по секциям шин 0,4 кВ А1 и А2. В нормальных условиях включены оба контактора основного питания КМ 1 и КМ2; оба контактора резервного питания КМЗ и КМ4 отключены. При потере питания, к примеру, трансформатора Т2, автоматически отключается контактор КМ2 и автоматически включается контактор резервного питания КМ4. Питание на секции шин А2 осуществляется в этом случае от трансформатора Т1.
Рис. 4. Двухлучевая схема с возможностью осуществления АВР на стороне НН
Схемы с КМ морально устарели и более широко используются схемы с АВР на стороне НН, выполненные на автоматических выключателях.
В настоящее время во многих проектах ГРС используются двойные магистрали с двухсторонним питанием, причем обе магистрали разделены на две части с односторонним питанием секционирующими элементами: выключателями или разъединителями. В качестве секционирующих элементов в ряде случаев удобно использовать уже упоминавшиеся реклоузеры — комплексные устройства, содержащие в своем составе коммутационный аппарат с необходимым набором релейной защиты и электроавтоматики (РЗА).
Следует отметить, что распределительные сети напряжением до 1 кВ в России являются разомкнутыми, т. е. все линии имеют одностороннее питание. В США и ряде стран Европы указанные сети эксплуатируются как замкнутые. Однако использование этого опыта в российских городских сетях затруднительно. Для осуществления замкнутого режима на стороне НН трансформаторов ТП необходимо устанавливать сетевые автоматы с токовой направленной защитой. Кроме того, в названных странах широко используют не трех-четырехжильные, а одножильные кабели с изоляцией из сшитого полиэтилена, прокладываемые в блоках. В этом случае повреждение изоляции кабеля приводит к отключению одной фазы и запеканию изоляции, т. е. к ликвидации повреждения с потерей фазы одной линии сети. При использовании 3-и 4-жильных кабелей с бумажно-масляной изоляцией такое явление не наблюдается, и при повреждении изоляции кабеля отключаются все фазы линии.
В связи с наметившимся ныне в России широким применением одножильных кабелей с изоляцией из сшитого полиэтилена и оборудования для секционирования сети (реклоузеров), могут использоваться и другие технические решения схем электроснабжения.
Вернуться к списку
|
Распечатать
|


